El puente de Wheatstone
¿Qué es?
Es un instrumento de gran precisión que puede operar corriente continua o alterna.
¿Que utilidad tiene?
Permite la medida de resistencias óhmica, asi como de su equivalentes en circuitos de corriente alerna en los que existen elementos como bobinas o condensadores.
"Breve"
Historia
En 1833 el puente fue descrito por Samuel Hunter Christie (1784-1865).
En 1843 Charles Wheatstone le dio multiples usos cuando lo redescubrio.
Por el lleba su nombre.

Importancia
Es utilizado para medir el valor de componentes pasivos. Sirvio de inspiracion para otros tipos de puentes que pueden medir capacitancia, inductancia y impedancia entre otros.
Actualidad
Actualmente es el circuito mas sensible para medir una resistencia.
Analisis del circuito
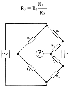
Un puente de Wheatstone es un circuito que se utiliza para medir resistencias desconocidas a travéz de una configuración de resistencias conocidas.
Utilidad
Disposición del puente

Estos están constituidos por cuatro resistencias que forman un circuito cerrado, siendo una de ellas una resistencia variable.

Entre los nodos B y C se crea un puente y se mide su corriente.
Se gradua la resistencia variable hasta que la corriente en V sea nula.
Por lo general se utiliza un microamperimetro para este fin.

Cuando la corriente entre B y C es 0, es decir VC y VB sean iguales, se dice que el puente esta en equilibrio.
ICB = VC-VB = 0

Para que
IAB = VB-VA = 0
se cumpla, el voltaje en A-C y en A-X deben ser iguales:
entonces:
VAC = VAB
conociendo que V=R*I tenemos:
RAC*IAC = RAB*IAB
R1*IAC = RX*IAB

Entre A,C,D pasa una corriente I1.
Entre A,B,D pasa una corriente I2.
Cuando el puente esta en equilibrio la siguiente condicion se cumple:
R1*I2 = RX*I1
R2*I2 = R3*I1
despejando:
I1/I2 = R1/Rz
I1/I2 = R2/R3
por lo tanto
R1/Rx = R2/R3
RX = (R1*R3)/R2
Resumiendo
El PDW se utiliza para medir resistencias desconocidas a travéz de una configuración de resistencias conocidas.
Se mide el voltaje en los extremos del "puente" y se varia una de las resistencias has que el valor del voltaje sea cero.
Al cumplirse esto podemos utilizar la ecuacion de equilibrio y encontrar la resistencia de nuestro interes.
Aplicaciones
-
Detección de problemas en lineas de distribucion de alta y media tension.
-
Sensores de fenomenos fisicos como: temperatura, presión, luz, fuerza entre otros.
-
En general: dispositivos que varian el valor de sus resistencias de acuerdo a la variacion de la temperatura, presión, etc.
-
Circuitos resonantes (LCR)
-
Detectores de resonancia paramagnetica
Aplicaciones en la informatica
Sensor de presión: pantallas touch, smartphones.
Detector de luz: bombillas inteligentes, pantallas con brillo automatico.
"Thermistor" es un dispositivo semiconductor en el cual su resistencia cambia con los cambios en las temperaturas. Utilizado como termometro electronico. Tambien en CPU's.
Puentes derivados del P.D.W
Puente de Maxwell
Utilizado para medir inductancia

Puente de anderson
Modificacion del puente de Maxwell.
Mide la inductancia en terminos de capacitancia y resistencia.

Puente de Hay
Utilizado generalmente par medir la inductancia en terminos de capacitancia, resistencia y frecuencia.

Puente de Kelvin
Modificacion del puente de Wheatstone. Se utiliza para comparar resistencias muy pequeñas

Puente de Wien
Se utiliza para medir capacitancia en terminos de resistencia y frecuencia.

Gracias
Puente de Wheatstone
By Alejandro Silva
Puente de Wheatstone
- 2,238