Building Management System
Group No : 25
Developed At : Dexter Consultancy Pvt Ltd
Developed By : Jaimin Gohel [135093693009]
Nikhil Borad [125090693008]
Internal Guide : Dr. Jyotika Doshi
External Guide : Mr. Dhaval Patel

Definition
Building/Property
- Any building like housing societies, Apartments, Shopping complex, Commercial buildings
Management
- Registering the details of property registration of residents and tenants also their family members
- Building Maintenance, Asset Management, Parking Management
- Event and Discussion Forum Management
- Inward/Outward register,Visitor information, Staff details
Project Type : Web site
Tools used | required :
Development side
- Front End: PHP, Jquery, Ajax
- Framework: CodeIgniter
- Back End: MySql, phpMyAdmin
- Web Server: Wamp
- Browsing/Testing: Google Chrome,Mozilla Firefox
- Documentation: Word 2007, Slide.com,Edraw Max
- Editor: Aptana Studio 3
Deployment side
- Hardware: Printer, Webcam
- Software: Web Browser
Types of Roles
• Super Admin
• Society Admin
• End user(Property owner)
Functionality of Property owner
• Easy connectivity with members/ management
• Complaint & Feedback mechanism
• Auto Reminder/ Notification of Mail & SMS
• Payment history & reports, Manage Tenants
• Set society cover photo
• Manage society staff list, visitor information ,Parking structure
•Can participate in Poll and Discussion forum
Functionality of Society Admin
• Manage Resident & their details
• Accounting Reports, Buyer & Seller Module
• Send Auto Reminder/ Notification through Mail/SMS
• Asset Management, Posting Notices
• Manage Parking Allocation, Society Album
• Manage Poll, Event, Discussion forum
• Manage Staff list and visitor entry
• Manage Inward Outward register for Commercial use
Functionality of Super Admin
•Manage Society admin and end users
•Manage ERP Sales
Project Scope
- Parking Management
- Residents' Directory
- Inward/ Outward Register (Commercial Buildings)
- Instant Poll
- ERP Sales Module
- Events
- Visitor Information
- Staff Attendance
- Society Background Configuration
- Discussion Forum
- Tenant view
- Photo Gallery
The scope of the Building Management System(SmartProp.in) includes the following functionality.
UML Diagrams




Interaction
Diagrams


Register, Login, Project details

Vehicle, Visitor, Album gallery

Cover image, Poll, Resident Directory

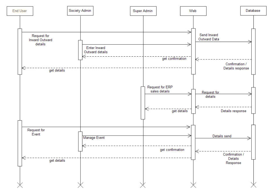
Inward/Outward Register, ERP-Sales, Event
Activity Diagrams


ER Diagram

GUI Screens

Parking Management
We draw on the substance and depth of decades of experience to assist property owners and building managers in developing comprehensive plans for maximizing their parking potential.
Project and parking wise Graphical view of parking allocation.
Society structure with Vehicle

Society parking structure

Society parking Search and Print view

Print sticker preview

Parking Master

Parking Transaction

Residents Directory
Details of the Property owner and its family member also tenant details.
Directories provide a tool for connecting with your neighbors, sharing information, making contact in an emergency, and helping with daily needs.
Residents Directory view

Property Owner Master

Property Submember Master

Inward/ Outward Register
Maintain the records of in coming and out going documents, letters and parcel for Commercial buildings.
Maintains move in/ move out for the heavy stuff in the Resident buildings.
Inward and Outward memo report.
Inward outward Insert Page

Inward View

Outward View

Mimo master

Instant Poll
Generating polls to take decision or resolve issues in Resident and Commercial buildings.
Instant poll offers you a real-time responsive element on stage.
Poll Create

Poll View

Poll Table

Option Table


Vote Table
Photo Gallery
Society admin create new Album,upload images Album wise
Society admin can change album cover photo
Society admin can add description to images
Gallery view

Album view of gallery

Add album | Upload images to album


Add description to Image
Gallery_album Table

Gallery_photo Table

Society Cover Photo Configuration
Society admin can upload Society cover image
Dashboard View(with cover photo)

Event Management
Creation and development of large scale events like festivals, ceremonies, meetings, conferences and other special events.
Calendar view of upcoming events.
Calender view of events

Add event view

Calender view of events

Event Table

Event Details Table

Visitor Information
Register and maintain visitor history.
Catered to meet individual, Group and corporate visitors for Corporate Offices, Hospitals, Schools, Residential Complex’s etc.
Visitor insert view

Visitor insert view (cont.)

Visitor view

Staff Maintanance
Register staff person and maintain history.
Generate identity cards of staff members.
Staff Insert View

Staff view

Copy of Copy of Building Management System
By Nikhil Borad
Copy of Copy of Building Management System
- 1,137