林尚廷
No Code No Life :: A competitive programmer
03t 與 他的肝
不要摔電腦 QQ
不要中暑 QQ
1. 密碼與它的歷史雜碎唸
* 以史為鏡,可以知興替。密碼學歷史簡介!
2. 加密與編碼系統淺淺談
* 你知道密碼、編碼、雜湊差在哪裡嗎?就讓我們一探究竟。
3. 深埋於土裡的智慧結晶
* 凱薩老兄啊,你這加密也太好破解了吧,換一個啦!
4. 迅速確實的對稱式加密
* 電腦時代,我們需要學習電腦訊號的加密方式!
5. 無堅不摧的公鑰加密法
* 哇,毀了。我們被竊聽了,怎麼辦?
6. 電腦世界的防偽與防盜
* 什麼是電子簽名?與密碼學何干?
7. 量子物理學將何去何從
* 暴力破解法與它的剋星!淺談後量子加密與它的神秘。
今天這堂課一定會講不完
所以來投票吧!
我想要 ...
希望不會太難 QQ
古希臘密碼棒棒
卡爾達諾漏格板板
密碼盤盤
傑弗遜圓盤
凱薩加密
替換式加密 vs 頻率分析方法
Risalah fi Istikhraj al-Mu'amma
漏字文
多表替換加密 & 一次性密碼本
恩尼格瑪密碼機
DES & AES
RSA 演算法
量子加密
- 不是研究怎麼設安全的密碼
- 不是教你怎麼破解別人Facebook
- 你不會因為知道密碼學在幹嘛而成為天才駭客
- 一堆數學
. 可是我不會數學,所以今天講的不多 QQ
- 如果已經沒興趣了
. 可以找隊輔聊天或做你的成發 XD
- 古典密碼學
* 資料保密、傳遞
* 密碼破譯
- 現代密碼學
* 古典密碼學所有東西
* 資料完整性驗證 (data integrity)
* 資料的不可否認性 (non-repudiation)
* 雜湊、亂數、隱寫術
- 加密 . 解密 (encrypt / decrypt)
* 雙向變換
* 需要金鑰,不知道金鑰即無法加解密
- 明文 (plain text)
* 未經過加密的文字
- 密文 (cipher text)
* 加密後產生的文字
- 金鑰 (key)
* 加解密所需要的東西
- 演算法 (algorithm)
* 解決複雜問題的一連串步驟
- 編碼 . 解碼 (encode / decode)
* 雙向轉換
* 不需金鑰,演算法公開
- 編碼 . 解碼 (encode / decode)
1. Unicode:\u9019\u662f\u842c\u570b\u300c\u7de8\u78bc\u300d
2. UTF-8:\xe9\x80\x99\xe6\x98\xaf\x55\x54\x46\x2d\x38\xe7\xb7\xa8\xe7\xa2\xbc
3. Base64:
6YCZ5pivQmFzZTY057eo56K8
- 雜湊 (hash)
* 單向轉換
* 相同字串的雜湊必相同
* 相同雜湊有極低機率是不同字串
- 雜湊 (hash)
1. SHA256:
fb5e724552e4d9a2573ef5a3b0885b369775664903d323ae9adb80c765c28797
2. SHA-1:
2354d0dcc1904923bd09f65cdf02c184bcb09031
3. ripemd160:
c619a42fc6f6e28fa04b330bd3634ebdab472636
Caesar Cipher
凱撒密碼的替換方法是將明文字⺟表向左或向右移動一個固定數目的位置成為密文。
Key:+3
Caesar Cipher
是不是很簡單呢?當然,如果我們將英文字⺟編碼:
\(A=0, B=1, C=2...\)
則這個密文與明文的關係可以用以下數學式子表示:
\(C_i = (P_i + key) \bmod 26\)
這時候你只要枚舉一下 \(key\),很快就可以破譯了。
Caesar Cipher
破解以下凱薩加密:
Tq lqhafy lzak lwpl, qgm sjw kwllafy qgmj imsdaxqafy lqhafy khwwv.
被嫌太簡單 QQ:
Va pelcgbtencul, n Pnrfne pvcure, nyfb xabja nf Pnrfne'f pvcure, gur fuvsg pvcure, Pnrfne'f pbqr be Pnrfne fuvsg, vf bar bs gur fvzcyrfg naq zbfg jvqryl xabja rapelcgvba grpuavdhrf.
Caesar Cipher
\(Key = 13\) 的凱薩加密又叫作 ROT 13
Substitution Cipher
凱薩實在太好破解了 QAQ
所以有人發明這種替換式加密方式,雖然對電腦根本只是小Case,但以前要破解就要用語言分析了。
Substitution Cipher
替換式加密的Key就是整張替換表
凱薩加密、ROT 13也是一種替換式加密
就連這樣也是:
Substitution Cipher
破解以下替換式加密:
Uvcrhlb uzdumhmzmhvl xhpfgt wgxtepmhvl hu rgte gsue, hul’m hm?
太簡單?
pmo cwlqa tnsfi zse kwdrh svon pmlnpooi xugb ysjh
Zipf's Law
齊夫定律(Zipf's law) 說明了事物出現頻率與名次呈現反比關係。
自然界有許多事物是滿足齊夫定律的, 例如英文字⺟出現頻率、單字出現頻率......
Vigenère Cipher
維吉尼亞加密也是凱薩加密的一種增強。
維吉尼亞加密通常會有個字串\(K\),做為加密用的偏移量,將原始明文與字串\(K\)一一對應做相加而得到密文。如果字串\(K\) 太短則將不斷重複使用。
Vigenère Cipher
寫成數學式子就變成這樣:
\(C_i = (P_i + K_{i \bmod L}) \bmod 26\)
不知道偏移量字串⻑度的就只能亂猜了,除非你是語言學或密碼學大電神。
Vigenère Cipher
破解以下維吉尼亞加密:
Ipkn ua lczohomv'c zmdylubo ntqxa?
提示:偏移量四個字母
Yhkx fo isw wkrv ty ict? S’h niui uowi eaui.
提示:偏移量是某種食物
Book Cipher
書碼是一種利用書本的頁碼、行號、第幾個字來進行編碼的密碼系統,前提是解密者要有那本書。
Book Cipher
不相信的話上面的連結可以點
Book Cipher
破解以下書碼:
為了確保大家都有這本書,這裡給個書名
書名:Tyeczofnetzy ez Wtyrftdetnd - FNWL Wtyrftdetnd
(61.33.9) (111.26.4) (15.20.14) (164.12.13) (39.5.9) (115.14.4)
資料在電腦的編碼方式為二進位 (Binary) 編碼,所以不管是中文、英文或任何國家的語言都可以轉換成數字儲存下來。
因此在電腦世界中,資訊傳遞的加密也只要對這些編碼過後的數字進行加密即可。
110101001010100101 ...
互斥或是一個把數字搞得面目全非的方法
觀察以下規律:
\(1234⊕7122 \rightarrow 8669\)
\(5687⊕7122 \rightarrow 13089\)
\(1487⊕7122 \rightarrow 8384\)
\(2587⊕7122 \rightarrow 12052\)
互斥或(XOR)是一個二元邏輯運算
位元互斥或是將數字每個位元XOR起來
eXclusive OR
bitwise XOR
當XOR作用在正整數集合時有許多重要性質:
1. \(a ⊕ 0 = a\)
2. \(a ⊕ a = 0\)
3. \((a ⊕ b) ⊕ c = a ⊕ (b ⊕ c)\)
4. \(a ⊕ b = b ⊕ a\)
當你收到右邊的密文時,幾乎無規律得已出左邊的明文。
\(X⊕Key = 5487\)
\(X =\ ???\)
但若你知道\(Key\)的值是多少,就可以輕易快速的解密出明文來。
\(X =5487 ⊕ Key\)
與維吉尼亞加密一樣,需要一組由金鑰\(K\)生成的字串\(S\)
進行加密的時候將運算改為 Bitwise XOR 即可。
string plaintext = "ABCDE", key = "JIZZ";
string encrypt(){
string res = plaintext;
for(int i = 0; i < plaintext.length(); i++){
res[i] ^= key[i % key.length()];
}
return res;
}- 串流加密 (stream cipher)
* 像 XOR 加密這種以金鑰生成的字串長度和明文長度相等,然後將兩字串一一對應順次加密的方法
- 分組加密 (block cipher)
* 資料加密標準 (Data Encryption Standard, DES)
* 3DES
* 進階加密標準(Advanced Encryption Standard, AES)
DES 是一連串複雜的加密的過程,1976 年被美國聯邦政府的國家標準局確定為聯邦資料處理標準。所有資料在加密傳輸之前,要先以每64bit分成許多小塊,然後再用已知的56bit金鑰對每一塊進行加密。
Note:
接下來會有一堆噁心變換
不要問我為啥是這樣
因為這是人訂的標準
初始置換 IP
最終置換 FP
費斯妥函式 F
費斯妥函式 F
擴張函式 E
八個不同的S盒
置換盒 P
金鑰排程
選擇置換1 PC1
56 bits
選擇置換2 PC2
移位 <<<
複習得啦
| 置換/函數 | 位置或功能 | 輸入位元 | 輸出位元 |
|---|---|---|---|
| IP | DES初始變換 | 32 | 32 |
| FP | 初始變換的反變換 | 32 | 32 |
| E | F函式內的擴張運算 | 32 | 48 |
| S | 讓輸出不要呈線性 | 6 | 4 |
| P | 使所有S盒都被用到 | 32 | 32 |
| PC1 | 選出有用的56位元金鑰 | 64 | 56 |
| PC2 | 選出每回合的金鑰 | 56 | 48 |
好累喔 QQ
由於DES的金鑰⻑度僅僅56位元,總共只有 \(2^{56}\) 種組合,以現今的電腦技術在一天內枚舉所有可能的金鑰破解已經不是問題,所以有以下幾種方法來改進DES的強度。
你說56位元太少?那就加⻑啊!
可惜配合DES設計的硬體根本不相容這麼⻑的金鑰,所以再想想其他辦法吧 QQ
那就兩個DES串在一起總行了吧。這樣要同時將兩個金鑰枚舉正確,夠難了吧。
假設你有學過演算法的話,你會發現兩個根本不是問題,你可以拿中途相遇 (Meet in the Middle) 演算法輕鬆破掉,頂多枚舉時間變成兩倍而已。
於是3DES就誕生了,沒錯,它就是三個DES串在一起,不但硬體支援加速,而且也不容易被暴力破解掉。
注意,這裡三個DES的金鑰要是不同的金鑰,不然與一個單純的DES沒兩樣。
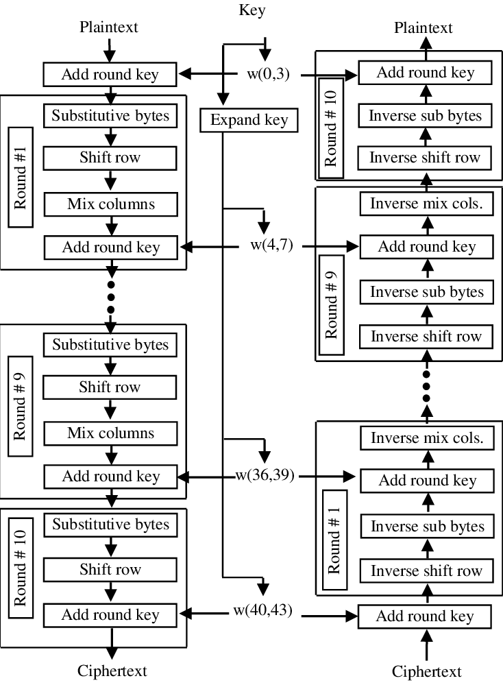
2002年,AES取代了DES,成為美國聯邦政府採用的一種區段加密標準。 到了2006年,它已然成為對稱金鑰加密中最流行的演算法之一。
AES的明文區段必須要是128位元
128位元密鑰版本有10個加密迴圈,
192位元版本有12個,256位元版本有14個。
這個演算法會以明文的16個位元組先放成\(4\times4\)的矩陣
- AddRoundKey
- SubBytes
- ShiftRows
- MixColumns
AddRoundKey
原矩陣 ⊕ 回合金鑰
SubBytes
S盒又出現啦
這次是AES S-box
ShiftRows
MixColumns
將每一列的四個元素分別當作\(1, x, x^2, x^3\)的係數,接著將此多項式和一個固定的多項式\(c(x) = 3x^3 + x^2 + x + 2\)在模\(x^4 + 1\)下相乘,得到新的係數就是新的位元組值。
金鑰排程
Rcon
RotWord
SubWord
複習得啦
| 步驟 | 功能 | 位置 |
|---|---|---|
| AddRoundKey | 與回合金鑰XOR | 每個加密迴圈 |
| SubByte | 讓輸出不要呈線性 | 每個加密迴圈 |
| ShiftRows | 動起來 | 每個加密迴圈 |
| MixColumns | 一個奇怪的多項式乘法 | 最後一個沒有 |
| RotWord | 動起來 | 金鑰排程 |
| SubWord | 讓金鑰不要呈線性 | 金鑰排程 |
| Rcon | 規定好的回合常數 | 金鑰排程 |
好累喔 QQ
等一下就有了啦
- 加密 . 解密 (encrypt / decrypt)
* 雙向變換
* 需要金鑰,不知道金鑰即無法加解密
Internet
You
Stranger
那就傳給他?
Internet
You
Stranger
那就傳給他?
Internet
You
Stranger
Eavesdropper
非對稱式加密!
Internet
You
Stranger
Eavesdropper
非對稱式加密!
Internet
You
Stranger
Eavesdropper
- 非對稱式加密
* 加密、解密金鑰不同
* 公鑰:類似鎖頭,用以加密
* 私鑰:類似鑰匙,用以給自己解密
- 非對稱式加密
* 必須保證無法依鎖打造鑰匙
* 也就是無法只憑公鑰取得私鑰
說起非對稱式加密,許多人的第一印象應該就是RSA了吧。
RSA是1977年由Ron Rivest、Adi Shamir和Leonard Adleman一起提出的,所以被稱作RSA演算法。
RSA的理論基礎是來自質因數分解的困難度,如果有人找到了一個快速分解大整數的算法,那RSA可能就無法保證安全性了。
- RSA加密步驟
1. 請對方公布他的公鑰
2. 將你的訊息使用他的公鑰加密
3. 將加密後的訊息公布或傳給他
4. 他接到訊息後,以他的私鑰解密
- 當然,若他要回傳訊息給你,你就要公布自己的公鑰給他
Step 1. 請對方公布他的公鑰
先請對方隨機選擇兩個不同的質數\(p, q\),然後計算\(N = pq\)。
再來計算 \(R = φ(N) = φ(p)φ(q) = (p - 1)(q - 1)\)。
最後任意找一小於\(R\)且與\(R\)互質的數\(e\),計算其在模\(R\)下的逆元\(d\)。
Note:\(N\)與\(e\)就是他的公鑰,\(d\)就是他的私鑰
Step 2. 將你的訊息使用他的公鑰加密
假設你要傳給他的訊息經過編碼後變成數字\(n\)
計算 \(c = n^e \bmod N\) 給他。
Note:\(N\)與\(e\)就是他的公鑰,\(d\)就是他的私鑰
因為質因數分解沒有已知的多項式時間演算法,所以若沒有私鑰\(d\),是無法有效率地僅由\(c, N, e\)解出\(n\)的
Step 3. 將加密後的訊息公布或傳給他
就... 傳啊
Step 4. 他接到訊息後,以他的私鑰解密
計算 \(c^d \bmod N\),就可以得到\(n\)了。
Note:\(N\)與\(e\)是他的公鑰,\(d\)是他的私鑰,\(c\)是密文,\(n\)是明文
證明如下:(有興趣自己看)
\(c^d = n^{ed} = n^{1+hφ(N)} = n ( n^{φ(N)})^h\equiv n(1)^h\equiv n \ (\bmod N)\)
好累喔 QQ
相較於RSA演算法而言,迪菲-赫爾曼密鑰交換是一個比較好懂且執行速度較快的金鑰交換方式。
(不過它無法用來傳訊)
它是基於離散對數問題無法在多項式時間內解決的事實, 來達到金鑰交換的目的。
D-H密鑰交換中,有許多要用到次方的地方,以下演算法可以在多項式時間內計算出\(g^x \bmod m\):
1. 先遞迴計算\(a \equiv g^{⌊\frac{x}{2}⌋} \pmod m\)
2. 如果\(x\)是偶數,則\(g^x \equiv a^2 \pmod m\)
3. 如果\(x\)是奇數,則\(g^x \equiv a^2g \pmod m\)
反問題則無有效率的解,才得以保證加密安全
假設\(g^x = a \pmod m\),現在給定\(a, g, m\)三數,求\(x\)。
- D-H密鑰交換步驟
1. 雙方先決定自己的私鑰
2. 任一方公布公鑰
3. 雙方將公私鑰混和交給對方
4. 雙方分別解密,解出共同密鑰
- 因為D-H密鑰交換無法進行傳訊,所以必須使用解出的金鑰進行對稱式加密傳訊。
雙方都先各決定一個任意數字,不需要讓任何人知道。假設我的是\(x\), 他的是\(y\)。
Step 1. 雙方先決定自己的私鑰
Note:\(x\)是我的私鑰,\(y\)是他的私鑰
公布兩個數\(g, m\),滿足\(g\)是整數模\(m\)乘法群下的原根
Step 2. 任一方公布公鑰
Note:\(x\)是我的私鑰,\(y\)是他的私鑰,\(g, m\)是公鑰
也就是說:
若\(d\)是滿足\(g^d \equiv 1 \pmod m\)的最小正整數,那麼\(d = φ(m)\)
兩人分別計算 \(X = g^x \bmod m\) 和 \(Y = g^y \bmod m\) 並將此兩數公布出去。
Step 3. 雙方將公私鑰混和交給對方
Note:\(x\)是我的私鑰,\(y\)是他的私鑰,\(g, m\)是公鑰,\(X, Y\)是公開訊息
我拿到\(Y\)之後將其取\(x\)次方,得到 \(Y^x = g^{xy} \bmod m\)
他拿到\(X\)之後將其取\(y\)次方,得到 \(X^y = g^{xy} \bmod m\)
Step 4. 雙方分別解密,解出共同密鑰
Note:\(x\)是我的私鑰,\(y\)是他的私鑰,\(g, m\)是公鑰,\(X, Y\)是公開訊息
因為雙方都同時知道這個\(g^{xy} \bmod m\),而且不會被任何人知道,所以可以安心用這個數字做為對稱式加密傳訊的金鑰
好累喔 QQ
了解橢圓曲線加密之前,要先知道什麼是橢圓曲線。
橢圓曲線是形如 \(y^2 = x^3 + ax + b\) 的方程式的圖形,
長的大概像這樣:
橢圓曲線上的點集合可以與一種加法運算構成一個交換群,現在就來定義這個運算。
加法
\(P+Q = -R\)
二倍
\(2Q = -P\)
逆元
\(Q = -P\)
單位元
\(0\):無窮遠點
不過真正在實作加密的時候,所用的橢圓曲線只包含滿足方程式的格子點(\(x, y\) 坐標都是整數的點),而且這些坐標值一定皆在\(0\)~\(p-1\)的範圍內。
正式地說:有限域上的橢圓曲線是滿足
\(y^2 \equiv x^3 + ax + b \pmod p\)
的所有格子點構成的集合。
若有限域上的橢圓曲線上兩點\(P(x_p, y_p)\)與\(Q(x_q, y_q)\),那麼定義\(P + Q = R(x_r, y_r)\)
\(x_r = ( \lambda^2 - x_p - x_q) \bmod p\)
\(y_r = ( \lambda^2 - \lambda x_r - y_p) \bmod p\)
其中\( \lambda\)是過\(P, Q\)兩點的連線斜率\(m \bmod p\)
若\(P, Q\)共點,則斜率\(m\)定義為\( (3ax^2_ p)/2y_p\)
複習得啦
| 橢圓曲線 | |
|---|---|
| 元素 | 曲線上的點 |
| 加法 | 共線三點的和是單位元素 |
| 單位元素 | 無窮遠點 |
| 反元素 | 對稱點 |
| 運算律 | 交換律、結合律 |
\(y^2 \equiv x^3 + ax + b \pmod p\)
- 橢圓曲線加密步驟
1. 雙方約定一組公鑰
2. 選定一個私鑰,將公鑰加密傳給對方
3. 對方也選定一個私鑰,將訊息加密回傳
4. 解密,解出共同密鑰
- 橢圓曲線加密的公鑰比較特殊,可以從網路上查詢比較適用的金鑰當作公鑰
上網搜尋了一組橢圓曲線與一個已經公布的起始點\(G\)。
Step 1. 雙方約定一組公鑰
腦中先想出了一個數\(k\)當作私鑰,以便解密用,然後將 \(K = kG\) 這個點的坐標傳給對方。
Step 2. 選定一個私鑰,將公鑰加密傳給對方
Note:\(k\)是我的私鑰,\(kG\)是公開資訊
要求心裡也想了一個數\(r\)
將兩個點\(rG\)與\(M + rK\)傳回來
Step 3. 對方也選定一個私鑰,將訊息加密回傳
其他人就只能看到\(G, K, rG, M + rK\) 四個點的交換,根本解不出\(k\)跟\(r\), 更別提解出\(M\)了。
Note:\(k\)是我的私鑰,\(r\)是他的私鑰
將\(M + rK\)減去\(k\)倍的\(rG\),就得到共同訊息\(M\)了
Step 4. 解密,解出共同密鑰
Note:\(k\)是我的私鑰,\(r\)是他的私鑰,\(G, K, rG, M + rK\)是公開資訊
顯然,這方法能成立,是因為就算擁有\(rG\)與\(G\),還是無法算出\(r\)的確切值,
因為這個有限域橢圓曲線上的運算是無法做除法運算的,才因此有了這個加密方法。
顯然,這個\(G\)必須是要經過挑選的,他的倍數要能到曲線上所有的點上才行,不然就會產生有效率的破解方法。
幸好網路上已經公布了許多能用的曲線以及對應的\(G\)點,直接拿來用就行了。
怎麼證明是本人?
如何確認資料是否被篡改?
數位簽章
公開金鑰 + 數位簽章
- 數位簽章
* 加密、解密金鑰不同
* 公鑰:用於解密,相當於驗證簽名
* 私鑰:用於加密,相當於生成簽名
數位簽章:使用私鑰
雜湊
非對稱加密:使用公鑰
對稱加密
簽章驗證:使用公鑰
雜湊
非對稱解密:使用私鑰
對稱解密
- 數位簽章
* 加密、解密金鑰不同
* 公鑰:用於解密,相當於驗證簽名
* 私鑰:用於加密,相當於生成簽名
我要怎麼信任你的公鑰???
公鑰交給認證機構
私鑰自己保留
- 數位簽章
* 加密、解密金鑰不同
* 公鑰:用於解密,經過信任的憑證機構認證後,人人皆可取用
* 私鑰:用於加密,自行保留
取得公鑰的方法:
利用憑證機構的公鑰驗證數位簽章
可以同時是0又是1的東東
\(|\psi \rangle =\alpha |0\rangle +\beta |1\rangle ;\quad \alpha ,\beta \in {\mathbb {C}}\)
RSA的理論基礎是來自質因數分解的困難度,如果有人找到了一個快速分解大整數的算法,那RSA可能就無法保證安全性了。
還記得RSA嗎?
量子密碼有以其人之道還制其人之身的概念。
量子位元的物理特性可以破解現代密碼系統,那麼也可以用量子位元的物理特性作為防範。
- 古典通道:傳送古典訊息(0或1)的通道
- 量子通道:傳送量子位元的通道
兩種通道都有被竊聽的危險
欲傳送訊息 (可能是密鑰)
隨機選定基底
接收方也隨機選定基底
利用古典通道檢查哪些基底正確配對
將訊息一半交換驗證,另一半作為共同訊息
外源纏結量子對
量子纏結現象:
當一對量子纏結起來時,它們的量子態是100%相反的
各自在三個基底選擇一個測量
雙方公開所用基底,若基底相同,可作為共同密鑰
來寒訓的啦 XD
或中暑

本著作係採用創用 CC 姓名標示-非商業性-相同方式分享 4.0 國際 授權條款授權.
By 林尚廷
四校資訊社聯課 :: 密碼學