Aula 10

Fundamentos da Mecânica

Prof. Ronai Lisbôa

UFRN - ECT - BCT

Objetivos

Estudar sistemas com movimento curvilíneo.

Calcular a aceleração e força centrípetas.

Bibliografia.

Tipler - Cap. 3

Seção 3.3

 

Tipler - Cap. 5

Seção 5.3

- Refaça alguns exercícios resolvidos.

O mínimo obrigatório é estudar a referência e a lista de exercícios (veja SIGAA)

Movimento circular é um movimento curvilíneo cuja trajetória é um círculo.

Eixo tangencial e aponta na direção do aumento da coordenada angular.

Eixo radial e aponta para longe do eixo de rotação.

Eixo normal e é perpendicular ao plano de rotação.

Os eixos r e t mudam de direção quando eles giram com o objeto.

\hat r
\hat t
\hat r
\hat t

Os eixos são perpendiculares e têm a direção dos vetores unitários radial (\(\hat r\)) e tangencial (\(\hat t\)).

Fonte: Eric Mazur

O movimento circular

Mesmo que a velocidade seja constante, uma partícula pode ter aceleração se se mover ao longo de uma trajetória curva, como um círculo.

O movimento circular: Aceleração centrípeta

Fonte: Openstax.org

O vetor velocidade tem magnitude constante e é tangente à curva, mas a direção muda num intervalo de tempo, \(\Delta t\):

\vec v_i =\vec v(t)
\vec v_f=\vec v(t+\Delta t)

Como o vetor velocidade \(\vec v(t)\) é perpendicular ao vetor posição \(\vec r(t)\), os triângulos formados pelos vetores posição e \(\Delta \vec r\) , e os vetores velocidade e \(\Delta \vec v\) são semelhantes.

\frac{\Delta v}{v}=\frac{\Delta r}{r}
\Delta{v}=\frac{v}{r}\Delta r

A aceleração centrípeta.

A magnitude da aceleração média:

No limite \(\Delta t \rightarrow 0\), define-se a aceleração centrípeta:

que é direcionada radialmente para dentro da trajetória curvilínea e é perpendicular à velocidade tangente à curva.

A aceleração devido ao movimento circular mantem o objeto se movendo à rapidez \(v_t\) ao longo da circunferência de um círculo de raio \(r\).

\frac{\Delta v}{\Delta t} = \frac{v}{r}\frac{\Delta r}{\Delta t}
a_c =\frac{v_t^2}{r}
\Rightarrow
a_m=\frac{\Delta v}{\Delta t}
Fonte: Eric Mazur

O movimento circular: Aceleração centrípeta

a_c = 5,78 \text{m/s}^2
a_c =2,73 \times 10^{-3} \text{m/s}^2
a_c =9,00 \times 10^{22} \text{m/s}^2
a_c = 5 g
a_c = 0,233 \text{m/s}^2

O movimento circular: Aceleração centrípeta

Um jato voa a 134,1 m/s em linha reta e faz uma curva ao longo de uma trajetória circular nivelada com o solo. Qual deve ser o raio do círculo para produzir uma aceleração centrípeta de 1 g no piloto e no jato em direção ao centro da trajetória circular?

Exemplo 1

Quando a rapidez do objeto não é constante temos uma aceleração tangencial.

A aceleração tangencial é uma medida da variação da magnitude da velocidade tangencial.

A aceleração tangencial é tangente à curva e tem a direção da variação da velocidade tangencial:

mas poder ter o mesmo sentido da velocidade tangencial ou sentido oposto.

a_{t} \equiv \lim_{\Delta t\rightarrow 0} \frac{\Delta v_{t}}{\Delta t}= \frac{dv_{t}}{dt}

O movimento circular: Aceleração tangencial

\vec v
\vec v

Acelerado

Retardado

Podemos analisar as aceleração tangencial e centrípeta que estão contidas no plano.

v_t = \text{constante}
a_t = \frac{dv_t}{dt} =0
a_c = \frac{v_t^2}{r} =\text{constante}

MCU

O movimento circular: Aceleração resultante

v_t \neq \text{constante}
a_t = \frac{dv_t}{dt} \neq 0
a_c = \frac{v_t^2}{r} \neq\text{constante}

MCUV

\vec a= a_t\hat t + a_{c}\hat r
a= \sqrt{a_t^2 + a_{c}^2}

Aceleração resultante

\vec a_c
\theta = \tan^{-1}\left( \frac{a_c}{a_t} \right)

Uma partícula movendo-se ao longo da trajetória curva terá acelerações direcionadas como mostrado.

Fonte: Hibbeler

O movimento circular: Aceleração resultante

A aceleração tangencial é sempre tangente à curva, a aceleração centrípeta aponta radialmente para o centro da trajetória. A aceleração resultante aponta para dentro da curva.

Uma partícula move-se num círculo de raio r = 2,0 m. Durante o intervalo de tempo de t = 1,5 s a t = 4,0 s, a sua velocidade varia com o tempo de acordo com:

Exemplo 2

v(t) = c_1-\frac{c_2}{t^2}

com \(c_1 = 4,0 \text{ m/s}\)  e \(c_2 = 6,0 \text{ m.s}\) . Qual é a aceleração total da partícula em t = 2,0 2?

A força centrípeta sobre um objeto em movimento circular à rapidez constante nos diz que a soma vetorial das forças exercidas no objeto deve ser direcionada para o centro do círculo, ajustando continuamente a direção do objeto.

Sem essa soma vetorial de forças apontando para dentro, o objeto se moveria em uma linha reta na direção da velocidade tangencial.

\vec F_c
\vec v_t
F_c = ma_c

A magnitude da força centrípeta:

F_c = m\frac{v_t^2}{r}

A força centrípeta é uma força central que varia a direção da velocidade tangencial instantânea.

A força centrípeta

O giro da Terra em torno do Sol está sujeito a uma força central.

A força central não quer dizer que o objeto em movimento circular será atraído para centro.

A força central varia a direção do vetor velocidade tangencial.

\vec F_{r}=m\frac{v_t^2}{r}\hat r

Removendo a força centrípeta o objeto vai se mover em linha reta a partir da tangente da trajetória circular e com \(\vec v_t = constante\).

A força centrípeta

Exemplo 3

(a) Calcule a força centrípeta exercida sobre um carro de 900,0 kg que percorre uma curva de raio de 500,0 m a 25,00 m/s. (b) Supondo uma curva sem inclinação, encontre o coeficiente de atrito estático mínimo entre os pneus e a estrada, sendo o atrito estático o motivo que impede o carro de escorregar.

Fonte: Openstax.org
\vec P
\vec P
\vec N
\vec N
\vec F_{at}
\vec F_{at}

Os pequenos satélites da Starlink, orbitam a Terra em alturas entre 500 a 1200 km acima da superfície da Terra.

O objetivo é estabelecer um serviço mundial de Internet de banda larga confiável e fácil acesso.

Os satélites operam em órbita terrestre baixa (LEO), o que resulta em latência mais baixa e taxas de transferência de dados (20 milisegundos) mais rápidas do que os satélites geoestacionários típicos (600 milisegundos) que orbitam em altas altitudes (36 000 km).

É importante criar mecanismos que controlem a distância entre o satélite e o centro da Terra, pois isso afeta a velocidade e o período do satélite.

A força centrípeta

O que mantém os satélites em órbita é a física newtoniana, em primeira aproximação:

A força centrípeta resultante que atua sobre este satélite em órbita é dada pela relação:

F_{cp} = m_{sat}\frac{v^2}{R}
F_{grav}=\frac{G M_T m_{sat}}{R^2}

A equação para a velocidade do satélite movendo-se em uma órbita circular em torno da Terra:

F_{cp} = F_{grav}
v^2 = \frac{GM_T}{R}

A velocidade para completar a órbita circular \(\Delta S=2\pi R\) num período \(T\):

v = \sqrt{\frac{GM_T}{R}}
v = {\frac{2\pi R}{T}}

O período \(T\) e a velocidade não dependem da massa do satélite:

T^2 = \frac{4\pi^2 R^3}{G M_{T}}
T^2 =kR^3

Terceira lei de Kepler

A força centrípeta

 STARLINK-30856

v = \sqrt{\frac{GM_T}{R_T+h}}

Os satélites estão sujeitos à terceira lei de Kepler

A força centrípeta

Altitude (km)

Velocidade (km\h)

Tempo (dias)

Tempo (dias)

Exemplo 4 (A11.P1-14)

Um carro passa com velocidade constante por uma colina circular e por um vale circular de mesmo raio. No alto da colina, a força normal exercida sobre o motorista pelo assento do carro é zero.  A massa do motorista é de 70,0 kg. Qual é o módulo da força normal exercida pelo assento sobre o motorista quando o carro passa pelo fundo do vale?

Fonte: Halliday

Exemplo 5 (A11.P1-09)

Um cubo está sobre uma plataforma giratória, girando inicialmente a rapidez constante. A rapidez angular da plataforma giratória é aumentada lentamente e, em um instante, o cubo desliza para fora da plataforma giratória. Explique por que isso acontece.

Fonte: Eric Mazur

Exemplo 6 (A11.P1-15)

Uma bola de 50 g oscila em um círculo vertical presa por um barbante de 1,5 m de comprimento. Quando a bola se encontra no fundo da trajetória circular, a tensão no barbante é de 15 N. (a) Quanto vale a velocidade da bola neste ponto? (b) Qual o trabalho realizado pela força resultante?

Fonte: Wolfgang

Exemplo 7 (A11.P1-16)

Um estudante amarra uma pedra de 500 g por um barbante de 1,0 m de comprimento e a gira sobre a cabeça em um círculo horizontal. A que valor de velocidade angular, em rpm, o barbante ficará inclinado para baixo em 10°?

Fonte: Wolfgang

Exemplo 8 (A11.P1-17)

Uma bola de 500 g move-se em um círculo vertical presa por um barbante de 102 cm de comprimento. Se a velocidade no topo vale 4,0 m/s, o valor da velocidade no fundo será 7,5 m/s. (No Capítulo 10 você aprenderá a demonstrar isto.) a. Quanto vale a força gravitacional exercida sobre a bola? b. Quanto vale a tensão no barbante quando a bola se encontra no topo? c. Quanto vale a tensão no barbante quando a bola se encontra no fundo?

Fonte: Wolfgang

Exemplo 9 (A11.P1-10)

A corda que segura o balde ou uma esfera faz um pequeno ângulo com a horizontal. É possível girar o balde  para que a corda fique exatamente na horizontal? Qual a velocidade tangencial?

componente horizontal da tensão

\vec T_x

componente vertical da tensão

\vec T_y
x
y

contato

\vec F^c_{cb}=\vec T
\vec P

peso

\theta

Exemplo 10 (A11.P1-11)

Uma piloto contorna uma curva a toda velocidade, inclinando-se bruscamente para a curva. Se, durante a volta, ela percorre o arco de um círculo de raio 4,5 m a uma rapidez constante de 5,0 m/s, qual ângulo o corpo deve fazer com a vertical para fazer a curva sem cair

x
y
\vec a_c

normal

\vec N

contato

\vec F^c_{sm}

atrito estático

\vec F^{at}

peso

\vec P
\theta

Exemplo 11

Quando um avião viaja a velocidade (vetorial) constante na horizontal, suas turbinas ou hélices “sentem” uma força horizontal para a frente. A atuação do ar no corpo e nas asas do avião exerce uma força com uma componente horizontal para traz, que é uma força de atrito, e outra componente (E) vertical para cima, que sustenta o avião.

(a) Por que o avião não consegue fazer uma curva na horizontal sem inclinar as asas?

(b) Qual o ângulo que as asas devem ser inclinadas para que o avião realize uma curva na horizontal de raio R?

Exemplo 12 (A11-P1-13):

Uma curva de 30,0 m de raio é inclinada de um ângulo θ. Isto é, a normal da superfície da estrada forma um ângulo com a vertical. Encontre θ para que o carro percorra a curva a 40,0 km/h, mesmo se a estrada está coberta de gelo, o que a torna praticamente sem atrito.

Fonte: Tipler

A orientação da rotação em relação ao eixo de rotação é uma convenção.

O ângulo polar,  \(\theta\), de um objeto que se move ao longo de um círculo de raio, \(r\),  é definido como o comprimento do arco, \(s\), sobre o qual o objeto se moveu dividido pelo raio:

Como as medidas do ângulo polar são feitas em radianos

mesmo que radiano não seja uma unidade.

1\,\text{rad}=0,159\,\text{rev} = 57,3^o

Ao dividir as grandezas \(s/r\), com dimensões de comprimento, vê-se que \(\theta\) admensional.

\theta
= \frac{s}{r}
\theta
= \frac{s}{r}

arco

raio

O movimento circular

A variação do ângulo polar, \(\Delta \theta\), é igual ao ângulo polar final menos o ângulo polar inicial, é

\Delta \theta
= \frac{\Delta s}{r}
\Delta \theta =\theta_f-\theta_i
\Delta \theta =\frac{s_f}{r}-\frac{s_i}{r}
\theta
= \frac{s}{r}

como

A variação do ângulo polar é igual a razão entre a variação do comprimento de arco pelo raio da circunferência:

\theta_i = \frac{\pi}{12}\text{rad}
r = 10\text{\,m}
\Rightarrow \Delta s = r\Delta \theta
\Rightarrow \Delta s = \frac{5\pi}{6}\text{ m }
\theta_f = \frac{\pi}{6}\text{rad}
\Delta s
s_f
s_i
\theta_i
\theta_f
\Delta \theta

O movimento circular

A partir da definição de velocidade média:

E o mesmo para a velocidade tangencial instantânea:

e que \(\Delta s = r \Delta \theta\), existe uma relação entre a velocidade média e velocidade angular média, \(\omega_m\).

v_{m}=\frac{\Delta s}{\Delta t}
v_{m}\equiv \frac{r \Delta \theta}{\Delta t}
v_{m}=r\frac{\Delta \theta}{\Delta t}
v_m = r\,\omega_{m}
v_{t}\equiv \frac{d s}{d t}
v_{t} =r\frac{d\theta}{d t}
v_t = r\,\omega_{}
  • \vec v_m
\vec r
\vec r
\Delta S = r\Delta \theta

A velocidade angular média é:

\omega_{m}=\frac{\Delta \theta}{\Delta t}
\vec r
  • \vec v_t

O movimento circular

O movimento circular

Motor de passo de 90 graus

O motor "para" 4 vezes ao completar uma volta.

\theta = \frac{2\pi}{4}\text{ rad}=\frac{\pi}{2}\text{ rad}
\theta = \frac{1}{4}\text{ rev}
\theta = 90^o

Para completar 1 volta é necessário aplicar 4 pulsos.

1 volta =

\theta =4\times\frac{\pi}{2}\text{ rad}
\theta =4\times\frac{1}{4}\text{ rev}
\theta =4\times 90^o

O motor com ângulo de grau de \(1,8^o\), "para" quantas vezes?

Quantos pulsos são necessários para 1 volta? E se for um motor com redução 1:64?

O movimento circular

Motor de passo de 1,8 graus

O motor com ângulo de grau de \(1,8^o\) "para" 200 vezes.

Ao aplicar 200 pulsos a cada segundo vamos saber a velocidade angular do motor:

\omega_{m}=\frac{\Delta \theta}{\Delta t}
=\frac{200\times0,0314\text{ rad}}{\text{s}}
=6,28\frac{\text{ rad}}{\text{s}}
\Delta\theta = 1,8\times \frac{\pi}{180}\text{rad} = 0,01 \pi \text{rad} = 0,0314\text{ rad}
200 \Delta\theta = 6,28\text{ rad} =2\pi \text{rad} = 1\text{volta}
=1\text{ rps}
=2\pi\frac{\text{rad}}{\text{s}}

A velocidade angular pode ter as seguintes unidades:

\frac{\text{rad}}{\text{s}}
\frac{\text{rad}}{\text{min}}
\frac{\text{rad}}{\text{h}}
\frac{\text{rev}}{\text{s}}
\frac{\text{rev}}{\text{min}}
\frac{\text{rev}}{\text{h}}
\text{ rps}
\text{ rpm}
\text{ rph}
=1 \frac{\text{ volta}}{\text{s}}

A frequência angular pode ter as seguintes unidades:

\equiv

O movimento circular

Velocidade angular e frequência angular?

A velocidade angular do motor de passo de \(1,8^o\).

\omega_m=6,28\frac{\text{ rad}}{\text{s}}

De forma geral, para uma volta completa:

\omega_m=\frac{\Delta \theta}{\Delta t}
\omega_m=\frac{2\pi \text{ rad}}{T}
\omega_m={2\pi \text{ rad}}\,f
f=\frac{1}{T}

O período é o tempo para completar 1 volta.

A frequência angular é o número de voltas por unidade de tempo.

A frequência angular do motor de passo \(f = 1 \text{ rps}\). Portanto, \(\omega_m = (2\pi \text{ rad)} f = 6,28\text{ rad}/\text{s}\).

O movimento circular

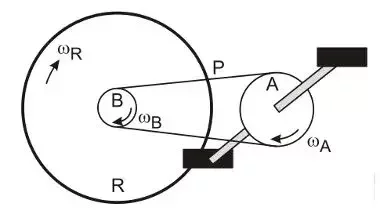
Engrenagens

\omega_1 = \omega_2
\frac{v_1}{R_1} = \frac{v_2}{R_2}
v_1= \frac{R_1}{R_2} v_2
R_1 / R_2 >1
v_1 > v_2
v_A = v_B
\omega_A R_A = \omega_B R_B
\omega_A = \omega_B \frac{R_B}{R_A}
\omega_A < \omega_B
-v_A = v_B
-\omega_A R_A = \omega_B R_B
\omega_A = -\omega_B \frac{R_B}{R_A}
|\omega_A| < |\omega_B |
f_A = 20 \text{ rpm}, R_A = 20\text{ cm}, R_B = 5\text{ cm},
f_1 = 20 \text{ rpm}, R_1 = 0,10\text{ m}, R_2 = 0,05\text{ m}

O movimento circular

Engrenagens

Quais as relações?

Modelando o movimento circular

\vec v_t = \vec\omega \times \vec r

O vetor velocidade angular é pode ser representada como uma grandez vetorial de direção perpendicular ao plano do movimento e seu sentido é dado pela regra da mão direita.

v_t = \omega \,r\sin(\theta)
v_t = \omega \,r

Se \(\theta = 90^o\)

Modelando o movimento circular

Como o vetor velocidade tangencial muda de direção no movimento circular, nós podemos calcular o vetor aceleração

\vec a = \frac{d\vec v_t}{dt}
\vec a = \frac{d(\vec\omega \times \vec r)}{dt}
\vec a = \vec \omega \times \frac{d\vec r}{dt}+ \frac{d\vec \omega}{dt}\times \vec r

Para um movimento circular uniforme, \(\vec \omega = constante\), a aceleração é centrípeta e  perpendicular ao vetor velocidade tangencial:

\vec a_{cp} = \vec \omega \times\vec v_t
\vec v_t
\vec \omega
\vec a

ou

\vec a_{cp} = \vec \omega \times(\vec\omega \times \vec r)

Se todos os ângulos são retos:

a_{cp} =\omega^2 r
a_{cp} =\frac{v_t^2}{r}

ou

Para um movimento circular não uniforme, a maginute da velocidade tangencial varia,

a_t = \frac{dv_t}{dt}
a_t = r\alpha

O movimento pode ser acelerado ou retardado.

Retardado

Retardado

Acelerado

Acelerado

  • \vec \omega \cdot \vec \alpha >0
  • \vec \omega \cdot \vec \alpha >0
  • \vec \omega \cdot \vec \alpha <0
  • \vec \omega \cdot \vec \alpha <0

Modelando o movimento circular

A velocidade média angular e a aceleração média angular.

Existe uma relação entre as grandezas de translação e rotação;

r\rightarrow \theta
v\rightarrow \omega
a\rightarrow \alpha
r=r_0+v_0 t+\frac{1}{2}a't^2
\theta=\theta_0+\omega_{0} t+\frac{1}{2}\alpha'_{}t^2
\rightarrow
v_t=v_0 +a' t
\omega_{}=\omega_{0}+\alpha'_{}t
\rightarrow
a_t=a'
\alpha_{}=\alpha'_{}
\rightarrow

E que:

v_t = \omega r
a_t = \alpha r
a_c = \frac{v_t^2}{r}

Modelando o movimento circular

Um disco está girando em torno do eixo central como um carrossel. A posição angular é θ(t) de uma reta de referência do disco é dada por

Modelando o movimento circular

\theta(t) = 1,00 -0,600t+0,250t^2

com t em segundos, θ em radianos e a posição angular zero indicada na figura.

Analise a cinemática do movimento.

FM - Aula 10

By Ronai Lisboa

FM - Aula 10

Dinâmica. Aplicações das leis de Newton. Movimento curvilíneo. Força centrípeta.

  • 543